En la investigación hidrodinámica y el monitoreo ambiental, las mediciones-a corto plazo a menudo solo reflejan el estado del flujo en un momento específico. Comprender los patrones generales de los cambios en las masas de agua requiere una acumulación continua de datos a largo plazo-. ADCP Buoy, a través de su plataforma de boyas, proporciona un medio técnico estable para la adquisición de datos hidrodinámicos a largo plazo-, lo que permite una operación continua.
ADCP Buoy fija un perfilador acústico de corriente Doppler debajo de la boya, lo que permite la observación continua del cuerpo de agua desde una posición relativamente fija. Al pre-establecer períodos de muestreo, el sistema puede registrar continuamente información sobre la velocidad y la dirección del flujo a diferentes profundidades, formando datos de series de tiempo-completas. Este formato de datos es más propicio para analizar cambios en las condiciones hidrodinámicas en diferentes escalas de tiempo.
Las características del flujo pueden verse influenciadas por varios factores, como cambios de marea, condiciones meteorológicas y procesos estacionales. ADCP Buoy, a través de una operación a largo plazo-, puede registrar gradualmente estos cambios. Al comparar y analizar datos de varios-períodos, los investigadores pueden identificar características recurrentes o tendencias a largo plazo-en los cambios de flujo, lo que proporciona una base de datos para investigaciones relacionadas.

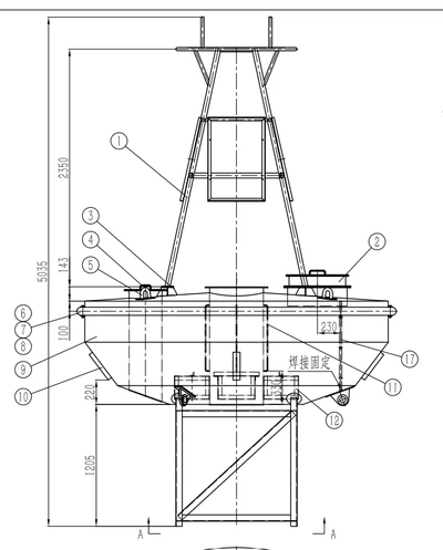
Una boya ADCP normalmente consta de una estructura flotante, sensores ADCP, un módulo de adquisición y almacenamiento de datos, un sistema de comunicación y una unidad de suministro de energía. La estructura flotante proporciona una plataforma estable para el sistema, asegurando la posición relativamente fija del sensor en el agua. El sistema de adquisición de datos funciona continuamente bajo parámetros establecidos, lo que permite la acumulación de datos a largo plazo-.
Basado en la experiencia práctica de nuestra empresa en equipos de monitoreo tipo boya-, el diseño de la boya ADCP pone mayor énfasis en la confiabilidad y estabilidad del equipo en condiciones operativas a largo plazo-. La estructura flotante cumple con los requisitos de carga-y al mismo tiempo considera posibles cambios ambientales durante el despliegue a largo-plazo; la configuración del sistema prioriza la continuidad de los datos, minimizando las interrupciones de datos causadas por cambios en el estado de los equipos.
Los datos-a largo plazo adquiridos por la boya ADCP se pueden utilizar para diversas tareas analíticas. Por ejemplo, comparar datos de varios años puede ayudar a estudiar si existen tendencias significativas en los cambios en el flujo de agua; La superposición de datos de diferentes períodos de tiempo también puede ayudar a identificar características periódicas en los procesos hidrodinámicos. Estos resultados analíticos proporcionan una referencia para posteriores trabajos de investigación y gestión.

En el monitoreo marino, la acumulación de datos-a largo plazo impone mayores exigencias al funcionamiento estable del equipo. Verificar periódicamente el estado de la boya, el estado de la superficie de los sensores y el estado operativo de los sistemas de comunicación y suministro de energía es crucial para garantizar la continuidad de los datos. Un cronograma de mantenimiento bien-planificado puede reducir el impacto de las fallas del equipo en las tareas de monitoreo-a largo plazo.
Por lo tanto, la boya ADCP desempeña un papel de apoyo fundamental en la acumulación de datos hidrodinámicos a largo-plazo. A través de una observación continua y estable, proporciona una fuente de datos confiable para comprender las características del flujo de agua. Nuestra empresa también optimiza continuamente el diseño del sistema de la boya ADCP para adaptarse mejor a las aplicaciones prácticas del trabajo de observación hidrodinámica a largo plazo-, abordando las necesidades del monitoreo a largo plazo-.

